| Code No. | 
                Drawing | 
                Connections | 
                Cable Length  | 
                Cable Core Size  | 
              
              
                | CF8SB-2 | 
                
                  
                    | STRAIGHT TYPE - M8 | 
                   
                  
                    |   | 
                   
                  
                      | 
                   
                  | 
                 
  | 
                
                  
                    | 1. Brown  | 
                   
                  
                    | 2. Blue  | 
                   
                  
                    | 3. Black  | 
                   
                  | 
                2 m  | 
                0.2 mm2  | 
              
              
                |   | 
                  | 
                  | 
                  | 
                  | 
                  | 
              
              
              
                | CF8LB-2 | 
                
                  
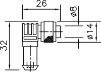
                    | `L' TYPE - M8 (Without LED) | 
                   
                  
                    |   | 
                   
                  
                     | 
                   
                  | 
                 | 
                
                  
                    | 1. Brown  | 
                   
                  
                    | 2. Blue  | 
                   
                  
                    | 3. Black  | 
                   
                  | 
                2 m | 
                0.2 mm2 | 
              
              
              
                |   | 
                  | 
                  | 
                  | 
                  | 
                  | 
              
              
                | CF12SB-2 | 
                
                  
                    | STRAIGHT TYPE - M12 | 
                   
                  
                    |   | 
                   
                  
                      | 
                   
                  | 
                 | 
                
                  
                    | 1. Brown  | 
                   
                  
                    | 2. white  | 
                   
                  
                    | 3. Blue  | 
                   
                  
                    | 4. Black  | 
                   
                  | 
                2 m | 
                0.2 mm2 | 
              
              
                |   | 
                  | 
                  | 
                  | 
                  | 
                  | 
              
              
                | CF12LB-2 | 
                
                  
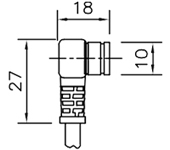
                    | `L' TYPE - M12 (Without LED) | 
                   
                  
                    |   | 
                   
                  
                      | 
                   
                  | 
                 | 
                
                  
                    | 1. Brown  | 
                   
                  
                    | 2. white  | 
                   
                  
                    | 3. Blue  | 
                   
                  
                    | 4. Black  | 
                   
                  | 
                2 m | 
                0.2 mm2 | 
              
              
                |   | 
                  | 
                  | 
                  | 
                  | 
                  | 
              
              
                | CF12LL-2 | 
                
                  
                    | `L' TYPE - M12 (With LED) | 
                   
                  
                    |   | 
                   
                  
                      | 
                   
                  | 
                 | 
                
                  
                    | 1. Brown  | 
                   
                  
                    | 2. white  | 
                   
                  
                    | 3. Blue  | 
                   
                  
                    | 4. Black  | 
                   
                  | 
                2 m | 
                0.2 mm2 | 
              
              
                |   | 
                  | 
                  | 
                  | 
                  | 
                  |